產品介紹
VL型手扳葫蘆是一種輕小型,多用途手動起重、牽引機械。新型、高效、安全、耐用具有起重、牽引、張緊三大功能,整機結構設計合理,安全系數高,使用壽命長,特別適用于野外無動力源狀況下。VL型手扳葫蘆適用于工廠、礦山、建筑工地、碼頭、運輸等各種場臺,是設備安裝、貨物起吊、物體固定、綁扎和牽引的理想工具,尤其是任意角度的牽引和在場地狹小,露天作業(yè)和無電源的情況下,更顯示其優(yōu)越性。
產品簡介:
VL型手扳葫蘆是一種輕小型,多用途手動起重、牽引機械。新型、高效、安全、耐用具有起重、牽引、張緊三大功能,整機結構設計合理,安全系數高,使用壽命長,特別適用于野外無動力源狀況下。



| 型號 model | 0.72Ton | 1.5Ton | 3Ton | 6Ton | |
| 起重量 噸 T | 0.75 | 1.5 | 3 | 6 | |
| 起升高度 米 m | 1.5 | 1.5 | 1.5 | 1.5 | |
| 實驗載荷 噸 t | 9.2 | 18.4 | 36.8 | 73.5 | |
| 手拉力 N | 148 | 216 | 336 | 345 | |
| 起重鏈直徑 毫米 mm | 6.3 | 7.1 | 9 | 9 | |
| 凈重 公斤 KG | 6.6 | 11.65 | 21.1 | 23.7 | |
|
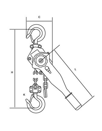
主要尺寸 毫米 mm |
A | 155 | 170 | 198 | 198 |
| B | 128 | 147 | 152 | 230 | |
| C | 310 | 350 | 470 | 590 | |
| D | 240 | 365 | 365 | 365 | |
| G | 28 | 36 | 47 | 49 | |